
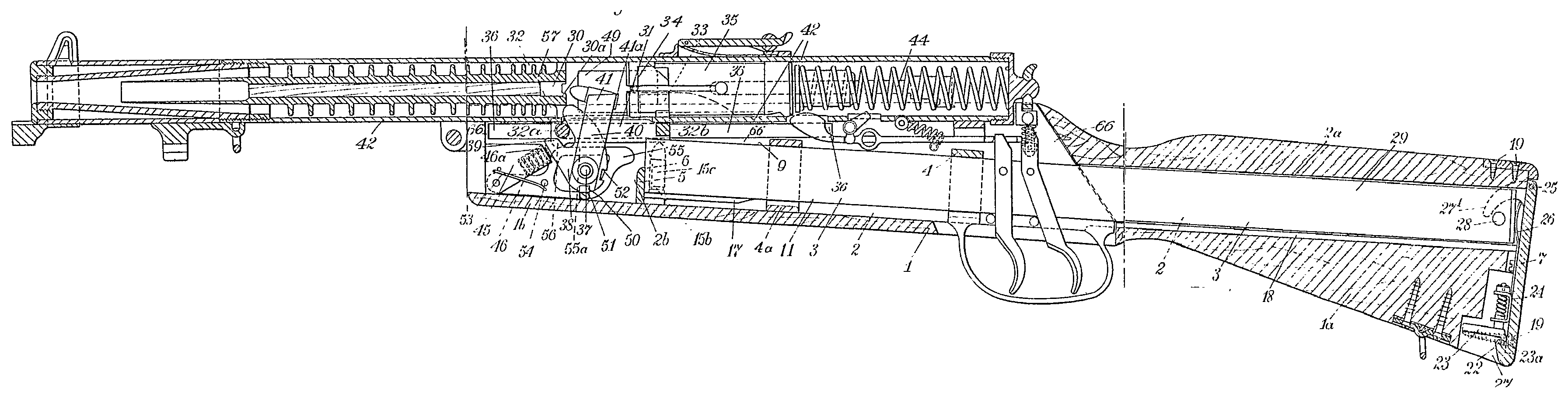
This
design was patented in August 1942 by Harry Benwell Stocks, a motor
engineer. The receiver and barrel seem to have been based on the
Lanchester submachine gun, but the feed system was entirely different,
with the magazine placed horizontally within the stock and the
cartridges elevated up into the chamber by a swinging arm. This was
similar in type to the feed systems employed by the Italian Sosso
submachine gun, which appeared almost simultaneously, and the later
Czech ZB-47 and CZ 246 SMGs which came after the end of the war. The
magazine was exceptionally long, with a capacity of 100 rounds, and was
inserted through a door in the buttstock. The Stocks submachine gun also
had a double trigger group giving automatic fire and single shots.
Although
the Stocks design was a novel idea, it does not appear to have been
pursued very far; it is not even known whether a prototype was ever
built, or whether the gun was entirely conceptual.
It may have been proposed to the Ordnance Board circa 1942, as it was
referenced by the C.E.A.D. the subsequent year during their trials of
the McLachlan submachine gun, another design with an unusual feed
mechanism.