Senn machine-pistol

[DE] Maschinenpistole Senn

SennMaschinenpistole

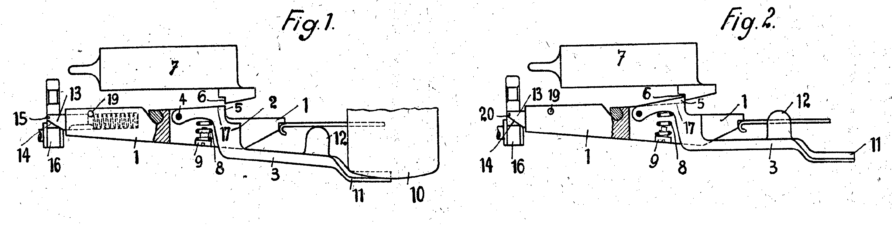
In 1916, Heinrich Senn of Bern designed a modification of the standard Swiss Luger pistol to fire in single shots or in full-automatic. This was achieved through the implementation of a sloped trigger sear which allowed the breech block to pass over it uninterrupted when the trigger was held down. When the trigger was released, the sear would rise and catch the breech block. This system was the subject of German patent DE310499 of 1916 and it was tested by the Swiss Army during World War I. Georg Luger himself apparently demonstrated a similar Luger machine-pistol before the Prussian Rifle Testing Commission around the same time, which inspired the German Army to introduce a submachine gun into service. The Senn machine-pistol was, however, not successful in and of itself and it was never adopted by any military.

Back to database